- profondeur d’installation min. 150 mm
- profondeur d’installation max. 415 mm
- niveau de pression PN 16
- température de service max. 65 °C
Menu
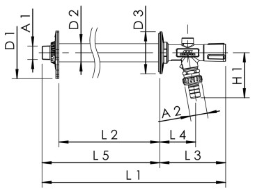
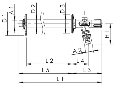
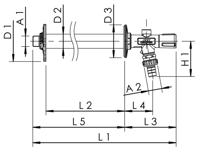
| Numéro de commande | DN | A1 | A2 | D1 (mm) |
D2 (mm) |
D3 (mm) |
H1 (mm) |
L1 (mm) |
L2 (mm) |
L3 (mm) |
L4 (mm) |
L5 (mm) |
Débit à 0,05 MPa (l/s) |
Débit à 0,1 MPa (l/s) |
Débit à 0,15 MPa (l/s) |
kg |
|---|---|---|---|---|---|---|---|---|---|---|---|---|---|---|---|---|
| 5782001500 | 15 | R 1/2 | G 3/4 | 100 | 35 | 81 | 71,5 | 561 | 403,5 | 127 | 66,5 | 434 | 0,46 | 0,67 | 0,82 | 1,81 |
| 5782002000 | 20 | R 3/4 | G 1 | 100 | 35 | 81 | 86,5 | 563 | 403,5 | 127 | 69 | 436 | 0,52 | 0,75 | 0,92 | 1,92 |
| Numéro de commande | DN | Modèle CAO | Courbe caractéristique |
|---|---|---|---|
| 5782001500 | 15 | Afficher des données 3D | courbe caractéristique d'affichage |
| 5782002000 | 20 | Afficher des données 3D | courbe caractéristique d'affichage |